每日經濟新聞 2025-11-24 10:21:58
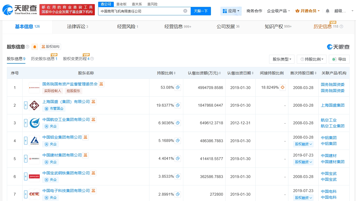
每經AI快訊,天眼查App顯示,近日,中國商用飛機有限責任公司發生工商變更,注冊資本由約501.01億元人民幣增至約940.98億元人民幣,增幅約88%。該公司成立于2008年3月,法定代表人為賀東風,經營范圍含民用飛機及相關產品設計、研制、生產、改裝、試飛、銷售、維修、服務、技術開發和咨詢服務等。股東信息顯示,該公司由國務院國有資產監督管理委員會、上海國盛(集團)有限公司、中國航空工業集團有限公司等共同持股。



如需轉載請與《每日經濟新聞》報社聯系。
未經《每日經濟新聞》報社授權,嚴禁轉載或鏡像,違者必究。
讀者熱線:4008890008
特別提醒:如果我們使用了您的圖片,請作者與本站聯系索取稿酬。如您不希望作品出現在本站,可聯系我們要求撤下您的作品。
歡迎關注每日經濟新聞APP